Einsteigerleitfaden zum Verständnis von Hochfrequenzwiderständen
- 2024-12-24 10:18
Verwandte Links
본문
Kapitel 6: Hochfrequenzwiderstände
Einsteigerleitfaden zum Verständnis von Hochfrequenzwiderständen
Wichtige Konstruktionsprioritäten • Geringe Induktivität: Wird durch die Minimierung von Spulenformen oder den Einsatz flacher Strukturen erreicht. • Geringe Kapazität: Gewährleistet minimale Wechselwirkungen zwischen den Widerstandsanschlüssen und der Umgebung. ![]() |
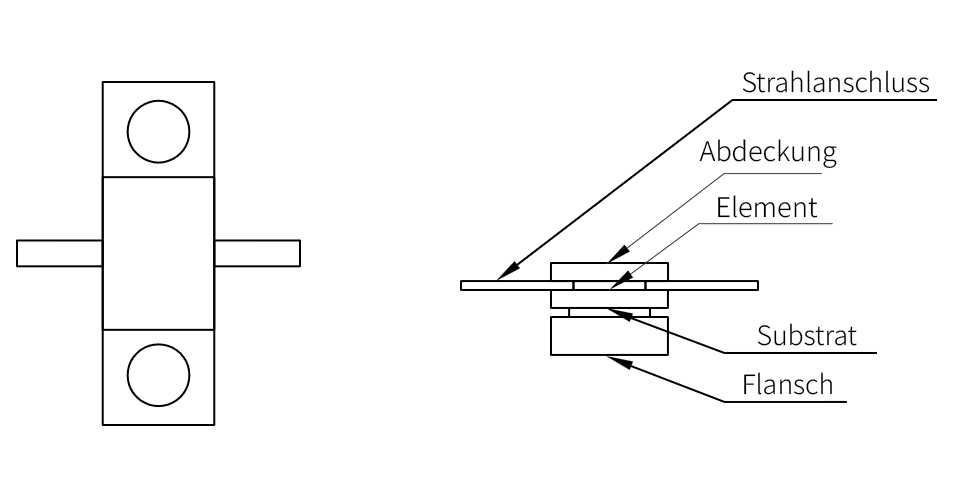
1. Aufbau eines Hochfrequenzwiderstands (Beispielmodell: TFR)
1) Widerstandselement • Sorgt für stabile Widerstandswerte bei hohen Frequenzen. • Besteht aus Materialien wie Metallfilm, Dünnfilm oder kohlenstoffbasierten Elementen. • Wird so konstruiert, dass Induktivität und Kapazität minimiert werden. 2) Substrat • Dient als Träger für das Widerstandselement. • Besteht typischerweise aus Keramik, Aluminiumoxid oder verlustarmen Isoliermaterialien. • Bietet hohe Beständigkeit gegen Hochfrequenzsignale und thermische Belastung.
3) Anschlüsse • Stellen die elektrische Verbindung zur Schaltung her. • Sind in der Regel beschichtet, um Widerstandsschwankungen und Signalverzerrungen zu minimieren. Zusätzliche Merkmale • Speziell entwickelte Widerstandselemente und HF-Substrate zur Reduzierung der Reaktanz. • Miniaturisierung und hohe Wärmebeständigkeit für effizienten Schaltungsbetrieb. • Angepasste Strukturen zur Minimierung von Verzerrungen und Signalverlusten bei hohen Frequenzen. |
2. Funktionen von Hochfrequenzwiderständen
① Impedanzanpassung
Gewährleistet die Übereinstimmung von Ein- und Ausgangsimpedanz, reduziert Signalreflexionen und maximiert die Leistungsübertragung.
② Abschlusswiderstand
Absorbiert Signale am Ende einer Übertragungsleitung, um Reflexionen zu verhindern und Stabilität in HF- und RF-Systemen sicherzustellen.
③ Strommessung
Misst oder begrenzt den Stromfluss in HF-Schaltungen, um Überstrom zu vermeiden und Geräte zu schützen.
④ Rauschunterdrückung
Reduziert unerwünschtes Rauschen und filtert Signale, um die Gesamtleistung des Systems zu verbessern.
⑤ Leistungsverteilung
Unterstützt die Stromverteilung und Leistungsregelung in Hochfrequenzschaltungen.
3. Applications in RF Amplifiers
In HF-Verstärkern übernehmen Hochfrequenzwiderstände mehrere Aufgaben: • Impedanzanpassung • Signalabschluss • Schwingungsunterdrückung • Rauschunterdrückung • Leistungsabschwächung |
4. Detaillierte Rollen in HF-Verstärkern
1) Impedanzanpassung • Bedeutung: Fehlanpassungen führen zu Reflexionen, Energieverlusten und Signalverzerrungen. • Rolle des HFR: Dient als Abschlusslast, um Restsignale zu absorbieren und die Schaltung zu stabilisieren. 2) Abschluss • Bedeutung: Reflexionen am Ausgang des Verstärkers verursachen Instabilität und Signalverzerrungen. • Rolle des HFR: Passt die Impedanz in Ein-/Ausgangsnetzwerken an, um Reflexionen zu minimieren und die Leistungsübertragung zu optimieren. 3) Schwingungsunterdrückung • Bedeutung: Hochverstärkende HF-Verstärker neigen zu ungewollten Schwingungen durch Rückkopplung oder Impedanzfehlanpassungen. • Rolle des HFR: Dämpft Schwingungen und ermöglicht eine stabile Verstärkung. 4) Rauschunterdrückung • Bedeutung: HF-Signale sind sehr empfindlich gegenüber thermischem und externem Rauschen. • Rolle des HFR: Verbessert das Signal-Rausch-Verhältnis (SNR) durch Reduzierung unerwünschter Störsignale. 5) Leistungsabschwächung • Bedeutung: Zu hohe Eingangssignale können den Verstärker sättigen und Verzerrungen verursachen. • Rolle des HFR: Reduziert die Signalstärke innerhalb eines Dämpfungsnetzwerks, um den Verstärker im linearen Bereich zu halten. 6) Strommessung • Bedeutung: HF-Verstärker verbrauchen erhebliche Leistung, daher ist eine kontinuierliche Stromüberwachung erforderlich. • Rolle des HFR: Ermöglicht präzise Strommessungen in HF-Umgebungen und schützt die Schaltung. |
Ohne HFRs können mehrere Probleme auftreten: • Signalverzerrungen und Verluste durch parasitäre Elemente in herkömmlichen Widerständen. • Überhitzung und Überlastung, da Standardwiderstände die thermische Belastung bei HF nicht aushalten. • Systeminstabilität durch Reflexionen und Rauschen, was zu Fehlfunktionen führen kann. • Geringere Energieeffizienz und ZuverläsGeringere Energieeffizienz und Zuverlässigkeit des Gesamtsystems.sigkeit des Gesamtsystems. |
6. Schlussfolgerung
Hochfrequenzwiderstände sind keine optionalen Bauelemente – sie sind entscheidend für zuverlässige, effiziente und stabile Hochfrequenzsysteme. Sie lösen spezifische Probleme, die herkömmliche Widerstände nicht bewältigen können, wie Impedanzfehlanpassungen, Schwingungen und HF-Rauschen.
Wer mit HF-Verstärkern, Kommunikationssystemen oder Mikrowellenschaltungen arbeitet, sollte HFRs einsetzen, um präzise Signalübertragung, Systemstabilität und langfristige Zuverlässigkeit sicherzustellen.


