The Key to Circuit Accuracy – How Do They Work?
- 2024-12-31 08:38
Related links
본문
Chapter 7: Precision Resistors
The Key to Circuit Accuracy – How Do They Work?
Precision resistors of RMS ![]() Key Benefits of Precision Resistors • High Accuracy: Enables precise current and voltage measurements. • Temperature Stability: Resistance remains nearly constant despite temperature changes. • Durability: Strong resistance against environmental stress ensures long life. |
2. How Do Precision Resistors Work?
1) Material Selection • Alloys such as nickel-chromium or manganin (copper-manganese) are used for their low TCR, meaning resistance barely changes with temperature. 2) Thin-Film Technology • Thin films are used when excellent TCR and precision are required. 3) Laser Trimming • Resistance values are finely adjusted during production using laser trimming, achieving accuracy up to ±0.01%. 4) Temperature Coefficient Control • A low TCR is critical. For example, with a TCR of ±5 ppm/°C, a 100°C temperature change results in only a ±0.05% resistance variation. |
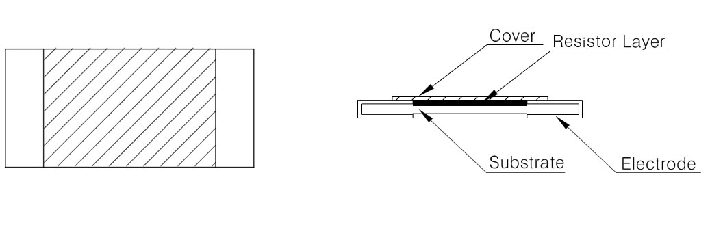
• Metal Film: Laser-processed patterns allow for precise resistance adjustment. • Metal Foil: Alloys with excellent TCR minimize resistance changes caused by temperature shifts. |
4. Roles of Precision Resistors
Precision resistors are essential in: • Accurate Current & Voltage Control: Crucial in measuring instruments and medical devices. • Circuit Calibration: Used when fine-tuning circuits. • Reference Voltage Creation: Provides stable voltage references. • Signal Processing: Supports ADCs (Analog-to-Digital Converters) and DACs (Digital-to-Analog Converters). |
5. Types of Precision Resistors
1. Metal Film: High precision, though TCR is moderate. 2. Wirewound: Excellent accuracy and TCR, but lower frequency performance. 3. Metal Foil: Outstanding in all aspects—precision, TCR, and stability—achieving up to 0.05% accuracy. 4. Thin-Film Chip: Compact yet highly precise, ideal for modern devices. |
6. Key Characteristics
• Tolerance: Provides stable voltage references. • Temperature Coefficient (TCR): Typically 0.1–10 ppm/°C, ensuring minimal resistance drift. • Long-Term Stability: Resistance remains stable over time, critical for equipment requiring years of continuous operation. |
7. Why Precision Resistors Are Vital in Medical Devices
Medical equipment demands accuracy and reliability, and precision resistors deliver both: • Exact Current & Voltage Control: Supports safe and accurate operation in devices like MRI or CT scanners. • Signal Processing & Amplification Circuit Calibration: Ensures reliable ECG or blood pressure readings by capturing delicate bio-signals. • Power Management: Helps regulate power supply and extend battery life. • Sensor Calibration: Maintains accuracy in thermometers and glucose monitors. |
8. Why Use Precision Resistors?
• High Accuracy: Meets the demanding standards of life-critical equipment. • Stability & Reliability: Resistant to temperature and time-based drift. • Noise Reduction: Minimizes electrical noise, improving measurement accuracy. • Miniaturization & Efficiency: Compact size with high performance, perfect for modern devices. • Compliance with Regulations: Helps medical devices meet strict international safety and performance standards. |
9. Conclusion

