La clave para la precisión de los circuitos: ¿cómo funcionan?
- 2024-12-31 08:38
Enlaces relacionados
본문
Capítulo 7: Resistores de Precisión
La clave para la precisión de los circuitos – ¿cómo funcionan?
Resistores de precisión de RMS ![]() Beneficios clave de los resistores de precisión • Alta exactitud: Permite mediciones precisas de corriente y voltaje. • Estabilidad térmica: La resistencia permanece casi constante a pesar de los cambios de temperatura. • Durabilidad: Su alta resistencia a condiciones ambientales garantiza una larga vida útil. |
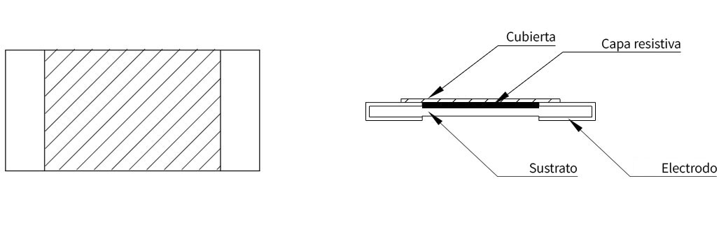
2. ¿Cómo funcionan los resistores de precisión?
1) Selección de materiales • Se utilizan aleaciones como níquel-cromo o manganina (cobre-manganeso) debido a su bajo TCR, lo que significa que la resistencia cambia muy poco con la temperatura. 2) Tecnología de película delgada (Thin-Film) • Las películas delgadas se emplean cuando se requiere un TCR excelente y alta precisión. 3) Ajuste por láser (Laser Trimming) • Los valores de resistencia se ajustan con precisión durante la producción mediante corte por láser, logrando exactitud hasta ±0.01%. 4) Control del coeficiente de temperatura (TCR) • Por ejemplo, con un TCR de ±5 ppm/°C, un cambio de temperatura de 100°C resulta en solo una variación de ±0.05% en la resistencia. |
• Película metálica: Los patrones procesados por láser permiten un ajuste preciso de resistencia. • Lámina metálica: Alloys with excellent TCR minimize resistance changes caused by temperature shifts. |
4. Funciones de los resistores de precisión
Los resistores de precisión son esenciales en: • Control preciso de corriente y voltajel: Crucial en instrumentos de medición y dispositivos médicos. • Calibración de circuitos: Utilizados para ajustes finos en los circuitos. • Creación de voltajes de referencia: Proporcionan referencias de voltaje estables. • Procesamiento de señales:: Soportan ADCs (Convertidores Analógico-Digital) y DACs (Digital-Analógico). |
5. Tipos de resistores de precisión
1. Película metálica: Alta precisión con TCR moderado. 2. Bobinados: Excelente exactitud y TCR, pero menor rendimiento en altas frecuencias. 3. Lámina metálica: Sobresalientes en todos los aspectos—precisión, TCR y estabilidad—logrando hasta 0.05% de exactitud. 4. Chip de película delgada: Compactos y muy precisos, ideales para dispositivos modernos. |
6. Características clave
• Tolerancia: Ofrece referencias de voltaje estables. • Coeficiente de temperatura (TCR): Normalmente entre 0.1–10 ppm/°C, garantizando un mínimo desplazamiento en la resistencia. • Estabilidad a largo plazo: La resistencia se mantiene estable con el tiempo, esencial para equipos que requieren años de operación continua. |
7. Importancia de los resistores de precisión en dispositivos médicos
Los equipos médicos exigen exactitud y confiabilidad, y los resistores de precisión aportan ambas: • Control exacto de corriente y voltaje: Fundamental para el funcionamiento seguro y preciso de equipos como resonancias MRI o tomógrafos CT. • Procesamiento de señales y calibración de circuitos de amplificación: Garantiza lecturas confiables de ECG o presión arterial capturando bio-señales delicadas. • Gestión de energía: Ayuda a regular la fuente de alimentación y prolongar la vida útil de la batería. • Calibración de sensores: Mantiene la exactitud en termómetros y medidores de glucosa. |
8. ¿Por qué usar resistores de precisión?
• Alta exactitud: Cumple los estándares exigentes de equipos críticos para la vida. • Estabilidad y confiabilidad: Resistentes a variaciones térmicas y al envejecimiento. • Reducción de ruido: Minimiza el ruido eléctrico, mejorando la precisión de las mediciones. • Miniaturización y eficiencia: Tamaño compacto con alto rendimiento, ideal para dispositivos modernos. • Cumplimiento normativo: Ayuda a que los dispositivos médicos cumplan estrictas normas internacionales de seguridad y rendimiento. |
9. Conclusión

