Der Schlüssel zur Schaltungsgenauigkeit – Wie funktionieren sie?
- 2024-12-31 08:38
Verwandte Links
본문
Kapitel 7: Präzisionswiderstände
Der Schlüssel zur Schaltungsgenauigkeit – Wie funktionieren sie?
Präzisionswiderstände von RMS ![]() Hauptvorteile von Präzisionswiderständen • Hohe Genauigkeit: Ermöglicht präzise Strom- und Spannungsmessungen. • Temperaturstabilität: Der Widerstand bleibt nahezu konstant, auch bei Temperaturschwankungen. • Langlebigkeit: Hohe Widerstandsfähigkeit gegenüber Umwelteinflüssen sorgt für eine lange Lebensdauer. |
2. Wie funktionieren Präzisionswiderstände?
1) Materialauswahl • Legierungen wie Nickel-Chrom oder Manganin (Kupfer-Mangan) werden aufgrund ihres niedrigen TCR verwendet – ihr Widerstand ändert sich kaum mit der Temperatur. 2) Dünnschichttechnologie • Dünne Metallschichten werden eingesetzt, wenn hervorragende TCR-Werte und hohe Präzision erforderlich sind. 3) Laserabgleich • Der Widerstandswert wird während der Produktion mit Lasertechnologie feinjustiert, wodurch Genauigkeiten bis zu ±0,01 % erreicht werden. 4) Kontrolle des Temperaturkoeffizienten • Ein niedriger TCR ist entscheidend. Bei einem TCR von ±5 ppm/°C führt eine Temperaturänderung von 100 °C zu einer Widerstandsänderung von nur ±0,05 %. |
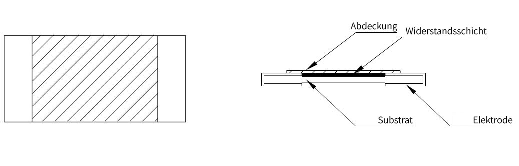
• Metallfilm: Laserbearbeitete Muster ermöglichen eine präzise Widerstandsanpassung. • Metallfolie: Legierungen mit hervorragendem TCR minimieren temperaturbedingte Widerstandsänderungen. |
4. Aufgaben von Präzisionswiderständen
Präzisionswiderstände sind unverzichtbar für: • Exakte Strom- und Spannungsregelung: Wichtig in Messgeräten und medizinischen Anwendungen. • Schaltungskalibrierung: Dienen zur Feineinstellung von Schaltungen. • Referenzspannungserzeugung: Stellen stabile Spannungsreferenzen bereit. • Signalverarbeitung: Unterstützen ADCs (Analog-Digital-Wandler) und DACs (Digital-Analog-Wandler). |
5. Typen von Präzisionswiderständen
1. Metallfilm: Hohe Präzision, jedoch mäßiger TCR. 2. Drahtgewickelt: Hervorragende Genauigkeit und TCR, jedoch geringere Hochfrequenzeigenschaften. 3. Metallfolie: Übertrifft in Präzision, TCR und Stabilität – Genauigkeit bis zu 0,05 %. 4. Dünnschicht-Chip: Kompakt und dennoch hochpräzise, ideal für moderne Geräte. |
6. Wichtige Eigenschaften
• Toleranz: Liefert stabile Spannungsreferenzen. • Temperaturkoeffizient (TCR): Typischerweise 0,1–10 ppm/°C, wodurch Widerstandsdrift minimiert wird. • Langzeitstabilität: Der Widerstand bleibt über Jahre hinweg stabil – entscheidend für Geräte mit Dauerbetrieb. |
7. Why Precision Resistors Are Vital in Medical Devices
Medizinische Geräte erfordern höchste Genauigkeit und Zuverlässigkeit – Eigenschaften, die Präzisionswiderstände gewährleisten: • Exakte Strom- und Spannungsregelung: Ermöglicht sicheren und präzisen Betrieb in Geräten wie MRT- oder CT-Scannern. • Signalverarbeitung & Verstärkerkalibrierung: Sichert verlässliche EKG- oder Blutdruckmessungen durch präzise Erfassung biologischer Signale. • Leistungsmanagement: Reguliert die Stromversorgung und verlängert die Batterielebensdauer. • Sensorkalibrierung: Gewährleistet Genauigkeit in Thermometern und Glukosemessgeräten. |
8. Warum Präzisionswiderstände verwenden?
• Hohe Genauigkeit: Erfüllt die strengen Anforderungen lebenswichtiger Systeme. • Stabilität & Zuverlässigkeit: Widersteht temperatur- und zeitbedingter Drift. • Rauschunterdrückung: Minimiert elektrisches Rauschen und verbessert die Messgenauigkeit. • Miniaturisierung & Effizienz: Kompakte Bauweise bei hoher Leistung – ideal für moderne Geräte. • Einhaltung von Vorschriften: Unterstützt die Erfüllung internationaler Sicherheits- und Leistungsstandards für Medizingeräte. |
9. Fazit

